最新!全国各省份认证证书数分布!
时间:2020-04-15 21:51
阅读:1024
近日,全国认证认可信息服务平台显示,截至2019年7月,全国共有有效认证证书数216万,获证企业67万。
一、整体概况

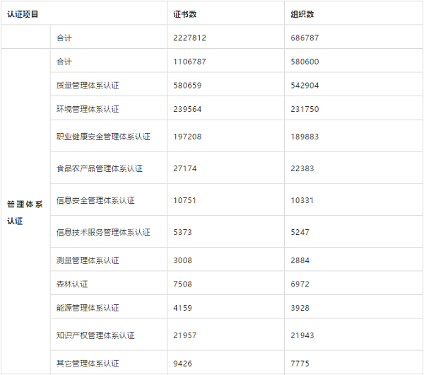
截至2019年7月,我国有效认证证书数为216万,获证企业数67万。其中证书数10万以上的省份四个,分别为广东415099张、浙江296101张、江苏296026张和山东156566张。
二、领域分布
2019年7月获证证书按领域统计情况


三、地域分布
2019年7月获证证书按地域统计情况



上一篇:近期国际标准动态一览
